Fotos de bikers, accesorios, novedades y todo lo relacionado al ciclismo
Crisp Brake: Calipers monopistón?
| 0 | 0 |
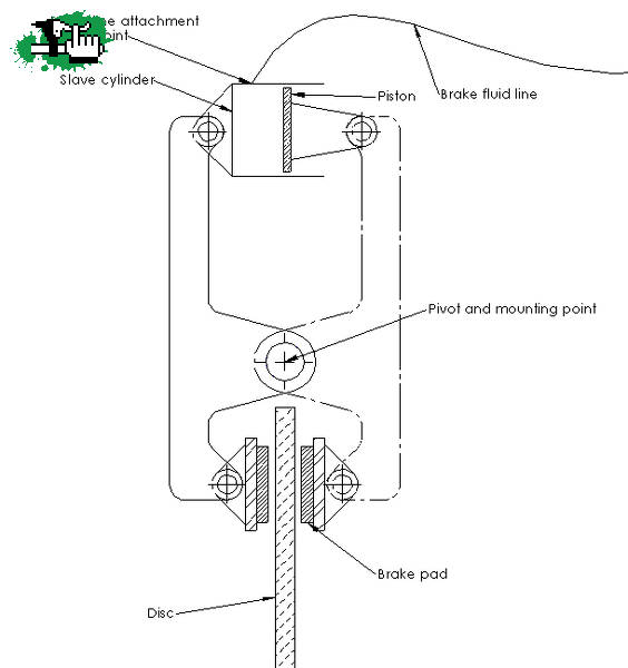
Un proyectito nuevo en Kickstarter. Un ingeniero propone cambiar los actuales diseños de cálipers hidráulicos monobloque con dos pistones independientes por un sistema tipo tijera, con un solo pistón, como se usa en muchas aplicaciones industriales. Por ahora juntó 610 dólares australianos de los 100.000 que según él necesita para desarrollar la idea y protegerla con patentes. La idea se basa en simplificar el sistema actual, y alejar lo más posible el pistón del disco, para evitar que el calentamiento de éste último termine por afectar el rendimiento del sistema, además de disminuír el riesgo de contaminación de los discos/pastiilas si existiera alguna fuga.
Como siempre, hay más info en el enlace.
Buscados para comprar
24/10/25 12:42
BUSCO GIANT 980 de los 90s
Les cuento... hace ya 4 años me robaron una Cannondale cujo 3 amarilla fluo y una Giant MCM 980 en Gral Rodriguez. Km 53 del Acceso oeste mientras pedaleabamos con mi esposa a Lujan. Aun conservo las denuncias y las fotos de mis bikes.
Desde aquel momento, no paro de entrar a diferentes portales t24/10/25 12:01
CANNONDALE F700
Hola mi gente bella! estoy buscando algun cuadro/bici cannondale F700 o similar de los 90s en talle S o M. En especial si es Headshock!
wsapp 1162947453. Alejandro14/10/25 10:03
Busco eje de rst space air 20mm
Busco el eje de rst space de aire, es de 20mm ,si alguno tiene que me escriba,muchas gracias. 06/10/25 22:10
Fusible GT de ruta
Compro fusible para bicicleta de ruta GT FORCE.
Alguien tiene un fusible GT de ruta o sabe quien los vende? La foto es ilustrativa. 08/09/25 19:55
compro rodado 26
compro rodado 26 GT TREK etcCanjes
25/07/25 15:57
Grupo compra/venta ciclismo de argentina
Buenas gente dejo el link para los que quieran unirse
https://chat.whatsapp.com/E4N9zhVk9wHFFzK7T345Kn?mode=ac_t01/06/25 18:20
FELT B16 - Permuta MTB
Permuto FELT B16 Performance - Talle 56. con grupo Shimano 105 - 22 v, cuadro: triatlon carbono dual aero TT/TRI UHC. Talle L. Excelente estado.
Permuta por MTB.26/05/25 18:52
NINER air 9 RDO
VENDO O PERMUTO solamente por honda xr 150 ,bici de mtb marca NINER AIR 9 (ORIGINAL) 29 ,talle M de carbono GRUPO COMPLETO XR FRENOS HIDRAULICOS , trasmicion completa recien puesta (nueva) ,HORQUILLA FOX 32 ,ejes boost ,computadora inalambrica recien puesta (nueva) ,los dos juegos de cubiertas de k12/04/25 11:30
Plato palanca XTR M960
Cambio por platos y palancas de ruta similar calidad. El plato es nuevo, a medida. 02/04/25 08:36
Permuto Cannondale Rush slx 10x1 por DRONE DJI
Hola permuto esta Bici por falta de uso, tiene SLX 10x1, llantas y frenos LX, Horquilla Axon tope de gama con bloqueo al manubrio y amortiguador FOX
permuto por drone de la marca Dji, les dejo mi numero al que le interesa 3434568861 saludos 26/02/25 13:54
PERMUTO MTB ENDURO X BICI DE TRIA O RUTERA
Permuto MTB ENDURO TALLE M BUSCO BICI DE TURA O TRIATLON TALLE S.Bicicletas robadas
24/10/25 12:31
Giant MCM 980 año98
Les cuento... hace ya 4 años me robaron una Cannondale cujo 3 amarilla fluo y una Giant MCM 980 en Gral Rodriguez. Km 53 del Acceso oeste mientras pedaleabamos con mi esposa a Lujan. Aun conservo las denuncias y las fotos de mis bikes.
Desde aquel momento, no paro de entrar a diferentes portales t26/08/25 00:42
ROBADA en Retiro anoche
Le robaron la bici a mi hermano. VenÃa por Ramón Castillo casi llegando a Rafael Obligado en Retiro (zona puerto) a eso de las 20:00 de ayer, 25/8/2025, 6 o 7 pibes lo tiraron de la bici y se la llevaron para la villa 31. La bici es una mountain BRONCO del año 1996 rodado 26', cuadro talle chico25/12/24 13:04
GIANT TALON2 AZUL OSCURO
GIANT TALON2 AZUL OSCURO Robada en Villa del Parque, CABA, el lunes 23 de Diciembre a las 11:38 am, hay video del ladrón.
Denuncia policial realizada. 24/12/24 08:41
Bici robada en Monte Grande
Fuji Nevada gris oscuro. Nueva. 1 dÃa de uso
Stem MTI pro 8mm

























Estoy buscando este cuadro, compro!! 11 6780 9939
Btt robada del interior del cotxe a Montblanc el 23/12/2024
Robada el 15/9/24 en mar del plata manillar marca sars